Фланцевий підшипник FWS25K
Основні розміри згідно європейських стандартів
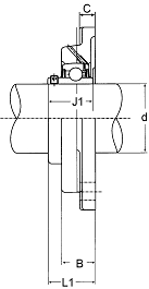
Основні розміри для FWS25K
| Призначення | Вимір | Зауваження |
|---|---|---|
| d | 20,00 mm | діаметр валу |
| A | 95,00 mm | |
| B | 29,00 mm | Версія відрізняється від стандартної: 29,50 mm |
| J | 35,00 mm | |
| E | 70,00 mm | |
| C | 14,00 mm | |
| s | 11,50 mm |
Дані про продуктивність для FWS25K
| Призначення | Вимір | Зауваження |
|---|---|---|
| 0,700 kg | вага |
Інші розміри FWS25K серія FWSK (12)
| Призначення | Вимір | компоненти | ||||||||
|---|---|---|---|---|---|---|---|---|---|---|
| d | A | B | C | E | s | J | L | Житло | Підшипник | |
| mm | mm | mm | mm | mm | mm | mm | mm | |||
| FWS25K | 20,00 | 95,00 | 29,00 29,50 | 14,00 | 70,00 | 11,50 | 35,00 | - | GG.FWS05 | UK205 |
| FWS30K | 25,00 | 108,00 | 29,00 32,00 | 16,50 | 82,50 | 11,50 | 38,00 | - | GG.FWS06 | UK206 |
| FWS35K | 30,00 | 118,00 | 30,50 34,00 | 17,00 | 92,00 | 14,00 11,50 | 43,00 | - | GG.FWS07 | UK207 |
| FWS40K | 35,00 | 130,00 | 34,50 37,00 | 18,00 | 101,50 | 14,00 11,50 | 46,00 | - | GG.FWS08 | UK208 |
| FWS45K | 40,00 | 138,00 | 35,00 | 16,50 | 105,00 | 14,00 11,50 | 50,00 | - | GG.FWS09 | UK209 |
| FWS50K | 45,00 | 143,00 | 39,00 47,50 | 16,00 | 111,00 | 18,00 11,50 | 55,00 | - | GG.FWS10 | UK210 |
| FWS55K | 50,00 | 162,00 | 43,50 52,00 | 20,00 | 130,00 | 18,00 11,50 | 59,00 | - | GG.FWS11 | UK211 |
| FWS60K | 55,00 | 175,00 | 46,00 53,00 | 19,00 | 143,00 | 18,00 11,50 | 62,00 | - | GG.FWS12 | UK212 |
| FWS65K | 60,00 | 184,00 | 52,00 58,00 | 22,00 | 150,00 | 18,00 11,50 | 65,00 | - | GG.FWS13 | UK213 |
| FWS75K | 65,00 | 200,00 | 52,00 56,00 | 23,00 | 159,00 | 23,00 11,50 | 73,00 | - | GG.FWS15 | UK216 |
| FWS80K | 70,00 | 208,00 | 55,80 58,00 | 20,00 | 153,00 | 23,00 11,50 | 78,00 | - | GG.FWS16 | UK217 |
| FWS90K | 80,00 | 235,00 | 55,80 68,00 | 25,00 | 187,00 | 23,00 11,50 | 86,00 | - | GG.FWS18 | UK218 |
Варіанти FWS25K (6)
| Призначення | Вимір | компоненти | ||||||||
|---|---|---|---|---|---|---|---|---|---|---|
| d | A | B | C | E | s | J | L | Житло | Підшипник | |
| mm | mm | mm | mm | mm | mm | mm | mm | |||
| FWS20 | 20,00 | 86,00 | 29,00 26,00 21,00 | 13,00 | 63,50 | 11,50 | 31,00 | 38,50 | GG.FWS04 | SA204 |
| FWS20U | 20,00 | 86,00 | 29,00 26,00 | 13,00 | 63,50 | 11,50 | 31,00 | 37,30 | GG.FWS04 | UC204 |
| FWS20A | 20,00 | 86,00 | 29,00 26,00 | 13,00 | 63,50 | 11,50 | 43,70 | 45,60 | GG.FWS04 | HC204 |
| FWS20T | 20,00 | 86,00 | 29,00 26,00 | 13,00 | 63,50 | 11,50 | 43,70 | 45,60 | GG.FWS04 | HC204R3 |
| FWS25K | 20,00 | 95,00 | 29,00 29,50 | 14,00 | 70,00 | 11,50 | 35,00 | - | GG.FWS05 | UK205 |
| FWS20S | 20,00 | 86,00 | 29,00 21,00 | 13,00 | 63,50 | 11,50 | 25,00 | 33,00 | GG.FWS04 | SB204 |
Аксесуари до FWS25K (0)
Не вдалося завантажити більше даних.
Альтернативні бренди для FWS25K (1)
| Назва | Бренд | Веб -сайт | Ув'язнення |
|---|---|---|---|
| FWS25K | HFH | Преміальна якість, бренд будинку |
Особливості продукту для FWS25K (0)
Не вдалося завантажити більше даних.
Für dieses Produkt ist ein 3D-Model verfügbar
Наші 3D -моделі служать візуальною підтримкою і створюються з великою обережністю, а інформація перевіряється на точність. Однак жодна відповідальність не може бути прийнята за будь -яку неправильну або неповну інформацію. Випуск крок файлів зарезервовано виключно для корпоративних клієнтів. Щоб подати запит на крок, будь ласка, скористайтеся посиланням запиту на файл кроку.
3D WebGL
Стовпчик
Варіанти FWS25K (1)
Усі заяви без гарантії. Зверніть увагу на наступне Інформація про продукт